Котел Candle Time 50 кВт з електронною автоматикою
Котел циліндричного типу Candle Time 50 кВт підходить для всіх типів житлових, виробничих та промислових приміщень з індивідуальної системою опалення. Цей котел характеризується унікальним способом згорання дров, де процес горіння проходить тільки у верхньому шарі палива.
Через розподільник повітря в верхній шар палива поступає вже прогріте повітря, і забеспечує ефективний процес пошарового спалювання.
По мірі прогорання палива, розподільник повітря опускається нижче і нижче, і так до самого дна котла. Процес горіння можна характеризувати як дуже повільний, але інтенсивний і максимально ефективний.
Розподільник повітря виготовлений з жаростійкої нержавіючої сталі товщиною 5 мм., що забеспечую дуже довгий процес його експлуатації.
Candle Time 50 кВт - укомплектований сучасною електронною автоматикою та вентилятором TECH, з функцією zPID, та можливістю управління не тільки циркуляційним насосом але і насосом контура ГВП.
Переваги котлів Candle Time 50:
- Сталь теплообмінника товщиною 4 мм;
- Циліндричний теплообмінник має більший термін експлуатації так в ній відсутні прямокутні з’єднання, де найчастіше з’являються прогорання;
- Шамотоване дно;
- Тривалість горіння на одній закладці від 24 годин;
- Гарантія на герметичність теплообмінника 2 роки;
Комплект поставки котла Кендл 50 кВт:
- Котел у зборі;
- Пульт керування TECH ST-22 SIGMA;
- Вентилятор M+MWPA 117;
- Запобіжний клапан Watts SVH 1,8;
- Термометр біметалічний Watts;
- Стольні ніжки дна котла
- Набір для чистки котла;
- Посібник з котла з гарантією.
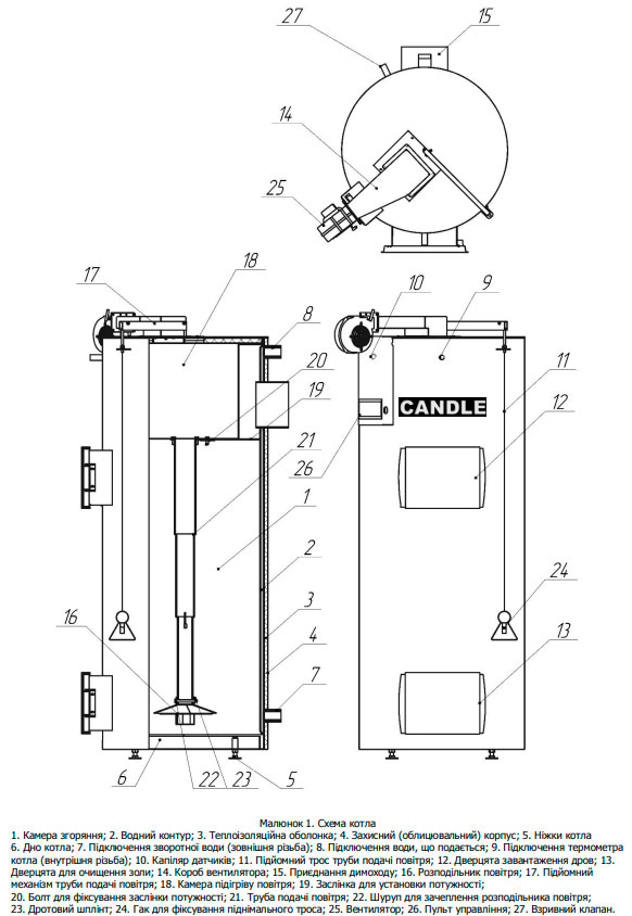
Конструкція котла в розрізі:


















